作为保税仓企业,我们深知许多跨境电商企业及相关人员对“一线二线进出区”这一专业概念存在困惑。这些概念直接关系到货物进出保税区的流程、税收政策和监管要求。本文将全面解析保税区一线二线的含义、区别及实际操作要点,帮助您更好地规划和优化跨境电商物流流程。

一、保税区一线二线是指什么?
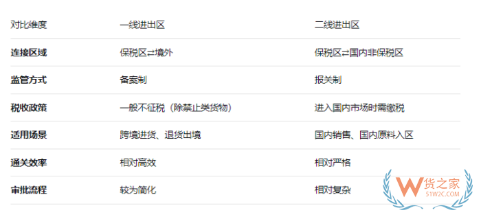
1. 一线进出区是什么意思?
“一线”指的是保税区与境外之间的通道。当货物从国外进入保税区,或者从保税区直接出境到国外,这个过程就属于“一线”进出区。
一线特点:
连接的是“境外”与“保税区”
海关对一线进出货物实行“备案管理”
除国家禁止进出口的货物外,一般不征收关税和进口环节税
2. 二线进出区是什么意思?
“二线”指的是保税区与保税区与国内保税区或者境内非保税区(即国内一般区域)之间的通道。当货物从保税区进入国内市场销售,或国内货物进入保税区进行仓储、加工等操作,这个过程就属于“二线”进出区。
二线特点:
连接的是“保税区”与保税区之间以及“国内非保税区”
海关对二线进出货物实行“报关管理”
货物从保税区进入国内市场时,需要按照一般贸易规定缴纳相应税费
二、保税区一线二线的区别

三、跨境电商中的实际应用场景
场景一:海外商品入仓至国内销售
一线进区:商品从国外运抵保税区,企业向海关提交备案清单,货物入区暂不缴纳关税
仓储与操作:商品在保税仓内存储、分拣、打包
二线出区:消费者下单后,商品以包裹形式从保税区发往国内,此时需按跨境电商进口政策缴纳进口综合税
场景二:保税区之间调拨转仓
二线进区:A保税区货物,批量调拨到B保税区,不同平台的保税仓之间调拨
仓储与集拼:在保税区内进行分拣、组合包装
一线出区:根据实际销售情况,有问题或者滞销货物批量或分批从保税区退运境外
场景三:退货处理
境内退货:已出区商品如需退货,可退回保税区,重新上架销售给其他国内消费者
境外退货:海外消费者退货商品可经一线进入保税区,进行检测、维修等操作

三、常见问题解答
Q:保税区货物能否在区内自由流动?
A:在保税区内不同仓库间转移货物相对自由,但需做好库存记录和系统更新。
Q:二线出区时,不同贸易方式税费有何差异?
A:确实有差异。一般贸易、跨境电商零售进口、保税展示交易等不同方式,其税率和监管要求各不相同,需根据实际情况选择。
Q:一线进区是否完全免税?
A:进入保税区时暂不征税,但若最终进入国内市场,则需在二线出区时缴税。只有最终从一线出区到境外的货物,才可能完全免征税费。
Q:货物可在保税区存放多久?
A:一般有存储期限规定(通常为2年),特殊情况下可申请延期,建议提前规划货物周转。
理解保税区一线二线进出区的区别,对跨境电商企业优化供应链、降低成本和提升效率至关重要。作为保税仓企业,我们建议跨境电商从业者不仅要掌握这些基本概念,更要密切关注政策变化,与专业的保税仓服务商合作,共同构建高效、合规的跨境物流体系。
货之家专业提供跨境电商进口物流、报关、保税仓一件代发服务,保税仓库,保税加工,保税物流,退运,销毁,国际进口物流,跨境电商进口报关。跨境电商进口保健品,进口产品,进口商品,进口食品,奶粉进口,红酒进口,进口咖啡,进口护肤品,进口化妆品,可直接咨询手机号/微信:13318730968(李经理),可对接京东、天猫、抖音、拼多多、小红书、淘宝、有赞、微店、微盟、洋葱等热门跨境全球购电商平台一件代发或保税物流调拨转仓。
文章及图片除原创外均精选转载自网络,版权归原作者所有,意在分享如有侵权请联系删除


